施工现场的标牌样式大全,请收藏备用
工作总结年度总结,PPT模板 年度工作总结,PPT模板
创优质结构工程汇报,PPT版本 创优质结构工程汇报PPT,值得借鉴和收藏
〖施工资料〗建设/监理单位审批施工资料意见填写指南 工程资料审批意见(标准版),建筑人值得学习和收藏
脚手架的48个验收标准和44个验收细节 脚手架的验收标准和验收细节,值得你掌握和收藏,干货
266个钢筋施工问答,让您从入门到精通,请学习和收藏
房建全套施工过程资料(共636页),建筑人值得借鉴的工程资料 房建全套施工过程资料(共636页),填表指南和样板,请收藏
万科、中海、龙湖的施工图专业审查经验,收藏备用 建设工程施工图审查经验,图纸会审时可以借鉴
十六种模板工程质量通病和防治措施,请了解和收藏 建筑工程中十六种模板质量通病和防治措施,请查阅
谢谢查阅,本头条号长期分享建筑工程知识和相关办公技巧,如觉得此次分享不错,请在下方金笔评论或转发、收藏。
请把本头条号推荐给同行和更多的朋友,让我们一起学习,携手不断加强和提升建筑专业知识,为未来的职业生涯奠定坚实的基础。
施工放线大致可以分三个阶段:建筑物定位(放线)、基础施工(放线)和主体施工(放线)。
一. 禁止标志
二、警告标志
三、指令标志
四、提示标志
五、明示标志
附录A1 禁止标志的基本形式
禁止标志的基本形式标志牌
禁止标志的制作要求按《安全标志》GB2894执行
附录A2 警告标志的基本形式
警告标志的基本形式标志牌
警告标志的制作要求按《安全标志》GB2894执行
附录A3 指令标志的基本形式
指令标志的基本形式标志牌
指令标志的制作要求按《安全标志》GB2894执行
附录A4 提示标志的基本形式
提示标志的基本形式标志牌
提示标志的制作要求按《安全标志》GB2894执行
附录B1 安全帽
佩戴规定:
项目部管理、现场管理人员佩戴红色安全帽
普通工人佩戴黄色安全帽
文字标准:
字体:中黑简
字号:大字为50号 小资为30号
附录B2 安全员袖标
附录B3 胸卡
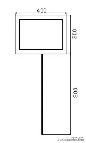
附录B4 400 X 300标志牌的基本形式
附录B5800 X 600标志牌的基本形式
附录B6 600 X 800标志牌的基本形式
附录B7 1500 X 2000类型标志牌的基本形式
附录B8 2000 X 1500标志牌的基本形式
附录B9 2500 X 2000标志牌的基本形式
附录B10 墩号牌的基本形式
附录B11 配合比标识牌的基本形式
附录B12 (半)成品材料标识牌
附录B13 材料标识牌
附录B14 机械设备标志牌
六、其他说明
1、基地标牌
项目经理部大门口显著位置挂有“中铁二十三局东明黄河大桥TJ-3标项目部”标牌,标牌使用铜板制作,面积不小于50*70cm
2、施工现场标牌
1)工程概况牌:尺寸3.2m*1.9m,蓝底白字,镶白边,铝板制作、字使用反光膜制作,牌柱采用镀锌钢管,露出地面部分大于3米,利于标段起点处,标牌内容:工程名称、合同造价、建设单位、设计单位、施工单位、监理单位、工期、项目经理、技术负责人、质量目标等。
2)施工现场标牌:大小(1.5m*0.9m),表明施工段落(部位),有关责任人(技术员、安全员、施工员(施工队长)、关键工序操作手等)。
文章来源豆丁施工,我尊重原创,转载出于更好的学习和分享,局部有所改动,能找到作者与出处我均有标明;如因版权等原因,请与我联系删除。
建设工程技术标包括什么内容?
技术复杂的建设工程项目对技术文件的编写内容及格式均有详细要求,应当认真按照规定填写。下面让我们一起看看建设工程技术标包括什么内容吧!
建设工程技术标包括的内容
建筑工程项目的技术标,只有一个,就是该标段工程的施工组织设计完整版。施工组织设计主要内容:
一、工程概况及编制依据
二、施工部署
三、施工准备
四、主要分部分项工程施工方法和技术措施
五、本工程重点、难点分析
六、工期目标及保证体系及措施
七、质量目标及保证体系及措施
八、安全保障体系及措施
九、创建文明工地及环境保护措施
十、冬期、雨期等季节性施工方案
十一、资源计划(材料、设备、人力、机械)
十二、重大危险源分析及预防
十三、应急救援预案及救援物资准备
十四、竣工回访保修措施
十五、施工进度计划横道图
十六、施工进度计划网络图
十七、施工总平面布置图
建设工程技术标编制注意事项
一、认真阅读招标文件
招标文件必须打印成纸板,认真阅读的必须是纸板招标文件,电子版只能做辅助翻阅使用。
阅读招标文件,需3遍以上。
充分了解投标范围,工期,质量目标,安全目标,对技术标的要求,评标标准等内容。其中,废标条款必须特别注意。
二、熟悉图纸
必须对图纸熟悉,有总体轮廓,对其中工序安排,施工部署有个总体思路,了解其施工重点,难点,是否是深基坑,是否有专家论证的部分,及细分方案划分。
三、踏勘现场
对现场周边环境要有所了解,现场地理位置,原地貌情况,周边环境,是否对施工有影响,或会造成扰民等,
四、对技术标编制
1、章节目录要求
章节划分,目录,标题,看招标文件是否有明确要求,对章节及目录有明确要求的,严格按照招标文件来,严禁自行编制。
招标文件对章节、目录没有要求的,依据技术标评分标准来列项设置章节标题。 评分标准,得分项目,必须在章节及目录标题里有体现。
2、技术标编制
技术标划分几个部分:
1)施工平面布置图,体现临电、临水、道路,大型机械,加工厂,体现各施工阶段总体安排,布置。
2)施工进度计划,横道图和网络图,及里程碑节点计划表
3)劳动力投入计划、材料投入计划表、机械设备投入计划表,试验仪器投入计划表,
4)施工部署(重点)
5)主要施工方案(细分施工方案专业,严禁本工程没有的工艺出现)
6)其他:如进度、质量、安全保证措施,冬雨季施工措施等等
注:编制顺序,也依次按照上述顺序编制
3、技术标编制
技术标模板根据投标小组安排版本来,严禁随意参考借用其他版本的技术标。
过程编制要求:
按章节进行编制,杜绝将提供的技术标模板整体打开进行编制,应编制哪个章节,逐个复制摘取某个章节到一个空白文件,单独进行编制,编制完成本章节后,再复制到汇总版本里。
比如:计划编写“进度保证措施”一章,需要将模板里的“进度保证措施”章节内容复制到一空白word文件里,然后进行修改,修改完成,调整格式后在剪切/复制到技术标汇总版本里整理。
4、技术标格式
格式及段落,招标文件有要求的,参考招标文件来编制。
招标文件没有要求的,按如下标准来编写:
1)标题:
字体:宋体,四号,加粗
首行无缩进
段前段后设置为0.
同正文格式
2)正文格式
字体:宋体,小四
段落要求:
段落:对齐方式:左对齐
首行缩进
行距:固定值25磅或1.5倍行距。
3)目录
字体:宋体,四号
行距:2倍或1.5倍行距
相关问答
工程标和设备标的区别?
设备标:所提供的设备,型号,价格,参数,货期,保修条款等,说说白了就是比价格用的。工程标:是安装要求,技术等级,施工步骤,和安装公司的资质考核。说白...工程...
技术标和商务标是什么意思?
一、商务标1,商务标书包括企业资质、营业执照,相关获奖证书,证明公司业绩的相关文件,有的还需要安全生产许可证、企业简介,具体看招标文件要求。,2,商务...
商务标技术标经济标有什么区别啊?-答疑解惑-广联达服务新干线
[最佳回答]商务标技术标经济标有什么区别:商务标就是工程预算。技术标就是工程施工方案;经济标就是投标报价。
招标文件技术标书与商务标之间的规定是哪些_法律问答—华律网
[回答]1.简单点说,投标文件一般包括经济、技术和商务标三大块,经济标主要指投标报价,技术标主要包括施工组织设计方面的内容,商务标就是公司的资质、执照...
你知道建筑施工现场必须设置哪些标识,标牌吗?
施工现场醒目处设置注意安全、禁止吸烟、必须系安全带、必须戴安全帽、必须穿防护服等标志;b)施工现场及道路坑、沟、洞处设置当心坑洞标志;c)施工现场较宽...
商务标、技术标、经济标;这三个标有什么区别和具体内容与作用?
主要包含的内容为:(1)法定代表人身份证明(2)法人授权委托书(正本为原件)(3)投标函(4)投标函附录(5)投标保证金交存凭证复印件(6)对招标文件及合同...主要包含...
施工机械环保码怎么申请?
一.需要提供的照片:包括:机械合格证照片、机械铭牌照片、发动机铭牌照片、环保信息标签照片、机械整机照片(前、后45°各1张)。二.需要提供的机械信息...
一个叉车标是什么车?
1.一个叉车标是一种叉车。2.因为叉车标是指在叉车上安装的标志或标识,而叉车是一种用于搬运和堆垛物品的机械设备,通常具有叉子或其他装置来提升和移动货物...
什么叫装备制造业和机械制造业?
中国是工程机械设备的制造大国,几大龙头企业也在国际市场上打出了一片天下。但是,风光背后,中国工程机械行业却有着困扰多年的隐痛——关键零部件一直受制于人...
什么叫装备制造业和机械制造业?它们有什么区别?
装备制造业是为国民经济和国防建设提供生产技术装备的先进制造业。机械制造业指从事各种动力机械、起重运输机械、农业机械、冶金矿山机械、化工机械、纺织机...
